气体灭火系统喷嘴耐冲击试验方法
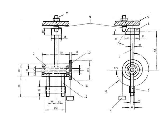
喷嘴耐冲击试验装置如图8所示,锤头、摆杆、钢轮毂和配重块通过滚动轴承、转动轴安装在固定架上。锤头材质为铝合金,锤头打击面应有足够的硬度以防止打击时造成损伤,锤头打击面与水平成60°。
将被试喷嘴按图示位置安装在试验装置上,调整喷嘴高度使冲击在锤头打击面的中心线上形成,此时锤头运动速度为 1.8 m/s±0.15 m/s,冲击能量为 2.7J。

1——钢轮毂;
2—— 调节杆;
3 ——被试喷嘴;
4 ——安装板;
5—— 锤头;
6——配重块;
7——工作重锤;
8——转动 270°;
9—— 摆杆;
10——滑轮;
11——球轴承;
12—— 配重臂。

|